產品關鍵詞:
產品簡介:微波槳葉干燥設備是贛林干燥攜手南京三樂微波集團共同研發出的針對油脂油屑專用型干燥設備,并且在2018年獲國家專利認證,是一款節能環保高效的干燥設備。
聯系方式:13961436197

微波槳葉干燥設備是贛林干燥攜手南京三樂微波集團共同研發出的針對油脂油屑專用型干燥設備,并且在2018年獲國家專利認證,是一款節能環保高效的干燥設備。

微波槳葉干燥設備全金屬焊接的微波諧振腔,使用溫度達700℃高溫,可滿足多種物料的加熱。微波熱解腔2外周均安裝有保溫隔熱層.
微波槳葉干燥設備的工作溫度范圍為室溫~800℃,耐溫范圍大,爐內物料填充率達40%~60%,運載能力強,可滿足多種物料不同溫度的微波處理,尤其是含油固廢的處理。
微波槳葉干燥設備可有效的抑制微波能的泄漏,防止進出料口微波的泄漏,安全性好。
微波槳葉干燥設備可以有效地避免其它加熱方式加熱含機溶劑物料,尤其是含油固廢的處理,帶來的爐體內壁結焦問題
微波槳葉干燥設備設有泄爆口,更加安全可靠,可用于產生易燃易爆氣體的物料的升溫。
微波槳葉干燥設備可有效的控制氧氣進入腔體內部,加熱時安全可靠。
微波槳葉干燥設備的速度可實現無級可調,可以按照處理要求控制物料在微波熱解腔內的停留時間。
微波槳葉干燥設備采用微波能作為熱源,可使微波熱解腔內部的物料在旋轉軸上的螺旋葉片作用下進行翻滾,內部物料加熱無死角,可實現物料受熱均勻,熱利用效率可達80%~85%,實現物料熱解快速且效果均勻。
....


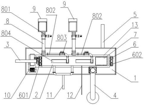
一種微波多螺旋熱解設備,它包括機架,安裝在機架上的微波熱解腔,與微波熱解腔相連的進料管道、泄爆系統、出料管道、排氣管道和沖氮管道;微波熱解腔上安裝有爐門,微波熱解腔與微波傳輸系統相連,微波傳輸系統與微波能發生器相連,微波熱解腔與多螺旋輸送系統相連,多螺旋輸送系統由電機驅動旋轉。


